FDCA155KXZES1-W/A FAN AND COMPRESSOR

FDCA155KXZES1-W/A FAN AND COMPRESSOR

Parts List

Key:
Instock.
Nilstock.
Contact MRE.

Check the parts position number [ ] matching with the drawing. Login to view prices.

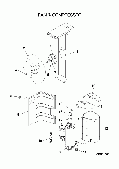
[1] In Stock
PCA116A209B
BASE,MOTOR
[2] In Stock
SSA431B228
FAN, PROPELLER
Notes: CONDENSER FAN BLADE
[3] In Stock
SSA512T076BA
MOTOR,DC
[4] In Stock
SSA914B007AD
NUT
Notes: **1pc ONLY**, NUT THAT LOCKS FAN BLADE ONTO SHAFT Show Image
SSA914B007AD
[5] In Stock
SSA913C031A
SCREW TAP
Notes: 1pc ONLY Show Image
SSA913C031A
[6] In Stock
S751W30X
GROMMET V14
Notes: D35, ***SOLD INDIVIDUALLY*** Show Image
S751W30X
[7] In Stock
W200H06
WASHER
Notes: 1pc ONLY Show Image
W200H06
[8] In Stock
AHT201P264WP
COMPRESSOR ASSY
Notes: RMT5126SWP41, ***COMPRESSORS CANNOT BE RETURNED***
[9] Contact
PCA141A087K
PLATE,BAFFLE
Contact
[10] Contact
PCA153D044
INSULATION,COVER
Contact
[11] Contact
PCA153D046
INSULATION,COVER
Contact
[12] Contact
PCA151D121
INSULATION,COMP
Contact
[13] In Stock
PCA541B012K
HEATER
Notes: Crank case heater
[14] In Stock
SSA941C246
CUSHION RUBBER
Notes: *1pc only* SOLD INDIVIDUALLY - RUBBER COMPRESSOR MOUNT - LENGTH 3.7CM Show Image
SSA941C246
[15] In Stock
SSA914C033
NUT
Notes: 1pc
[16] In Stock
SSA947K026
COVER,TERMINAL
SSA947K026
[17] In Stock
SSA932C009A
GASKET,COVER
SSA932C009A
[18] In Stock
SSA914C016
NUT
Notes: 1pc Show Image
SSA914C016
[19] Contact
PCA504A326A
WIRING ASSY
Contact
Notes: FOR COMP.
SKU: FDCA155KXZES1-W/A FAN AND COMPRESSOR Category:
0
    0
    Your Cart
    Your cart is empty
      Calculate Shipping