Skip to content
info@mrespares.com.au
Phone:
+61 2 9600 7444
Register
Login
Shop Parts
Service Tools
Cart
info@mrespares.com.au
Phone:
+61 2 9600 7444
Register
Login
Shop Parts
Service Tools
Cart
Home
About
About MRE Spare Parts
Ordering Information
Terms of Trade
Privacy Policy
Delivery Policy
Returns
Feedback
Faq
Contact
Home
>
FDCA140HKXES4 CONTROL AND PARTS SET
PRINT
FDCA140HKXES4 CONTROL AND PARTS SET
FDCA140HKXES4 CONTROL AND PARTS SET
Parts List
Key:
Instock.
Nilstock.
Contact MRE.
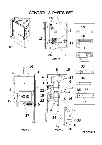
Check the parts position number [ ] matching with the drawing.
Login
to view prices.
[1]
In Stock
PCB505A042NA
PWB ASSY
Notes:
PWB1
Show Image
[1-37]
Contact
PCA501A129B
CONTROL UNIT
Contact
Notes:
NOT AVAILABLE
[2]
In Stock
PCB505A044ZG
PWB ASSY(INV)
Notes:
PWB2 INVERTER, ****NEED HEAT PASTE PSA971F002/ LENGTH 40CM
Show Image
[3]
In Stock
PCB505A035A
PWB ASSY(N.
Notes:
PWB3
[4]
Out of Stock
SSA554B044D
REACTOR
Notes:
L1
[5]
In Stock
PCB554A014B
TRANSFORMER
Notes:
TR
[6]
In Stock
SSA552F427AJ
CAPACITOR
Notes:
C1,2, C1 400V 3900MF
[7]
Out of Stock
SSA552A177
CAPACITOR,RUNNING
Substitute:
OUT OF PRODUCTION
Notes:
C3,C4, OUT OF PRODUCTION - NO ALTERNATIVES
[8]
Out of Stock
PCB552F006C
CAPACITOR A
[9]
In Stock
SSA561B687
BLOCK,TERMI
Notes:
TB1
Show Image
[10]
In Stock
SSA561B203AC
BLOCK, TERMINAL
Notes:
TB
Show Image
[11]
In Stock
PCB008A120A
TRANSISTOR
Notes:
TM, IPM (Intelligent Power Module) / POWER TRANSISTOR
[12]
In Stock
PCB008A121A
DIODE STACK
Notes:
DM, aka DIODE MODULE
Show Image
[13]
In Stock
SSA521A186A
CONTACTOR,EM
Notes:
52C1,2
Show Image
[14]
Contact
S750W12
GROMMET
Contact
Notes:
D15
[15]
Contact
S750W30
GROMMET
Contact
Notes:
D35
[16]
In Stock
PCA551A027D
SENSER
Notes:
THO-A, LENGTH 64.5CM
Show Image
[17]
In Stock
PCA551A027A
SENSER
Notes:
THO-D
[18]
Out of Stock
PCA551A027B
SENSOR
Notes:
THO-C, Base Dome Sensor
Show Image
[19]
In Stock
PCA551A027C
SENSOR
Notes:
THO-R, THO-R/ LENGTH 150CM
Show Image
[20]
In Stock
PCA551A027
SENSER
Notes:
THO-S
Show Image
[21]
In Stock
SSA551A192
SENSOR ASSY
Notes:
THO-TR
Show Image
[22]
In Stock
SSA553A379
RESISTOR
Notes:
R1-1,2,R2-1,2, SOLD INDIVIDUALLY - 15 Ohm
Show Image
[23]
In Stock
SSA553A380
RESISTOR
Notes:
R1-3,4,R2-3,4, SOLD INDIVIDUALLY - 30 kO (kilo-Ohm)/ LENGTH 4.7CM
Show Image
[24]
In Stock
SSA552D040Y
FILTER,NOISE
Notes:
FOR COMP.WIRING
Show Image
[25]
Contact
SSA562K005
RLOCK TERMI
Contact
[26]
In Stock
PCB555B003
VARISTOR ASSY
Show Image
[27]
Out of Stock
PCB552D006A
KILLER,NOIS
[28]
Contact
PCA552F002
CAPACITOR A
Contact
[29]
Contact
PCA504A228AB
WIRING ASSY
Contact
Notes:
PWB1 CNX1-TBX
[30]
Contact
PCA504A228AC
WIRING ASSY
Contact
Notes:
PWB2 CNI2-PWB1 CNI1
[31]
Contact
PCA504A228AH
WIRING ASSY
Contact
Notes:
PWB1 CNFM1-FM1 AC
[32]
Contact
PCA504A228AJ
WIRING ASSY
Contact
Notes:
PWB1 CNFM2,C4-FM2 AC
[33]
Contact
PCA504A228CK
WIRING ASSY
Contact
Notes:
D.M D.M-PWB2 CNR
[34]
Contact
PCA504A228DA
WIRING ASSY
Contact
Notes:
52C-PWB1 CNM1
[35-37]
Contact
PCA504A228DH
WIRING ASSY
Contact
Notes:
PWB1 CNW1-PWB3
[36]
In Stock
SSA564A072C
FUSE
Notes:
3.15A, 3.15 Amps
Show Image
[37]
In Stock
SSA564B059
HOLDER,FUSE
Show Image
[38]
Out of Stock
RKJ941F001
SPRING LEAF
Substitute:
PSA941F001
Notes:
FOR SENSOR
Show Image
[39]
Contact
PSC011G502
LABEL,WIRING
Contact
[39-41]
Contact
PCA008A212B
PARTS SET
Contact
[40]
Contact
PCA012A001
MANUAL,INSTRUCTION
Contact
[41]
Contact
PSA011F919AB
LABEL,MODEL NAME
Contact
FDCA140HKXES4 CONTROL AND PARTS SET quantity
Add to cart
SKU:
FDCA140HKXES4 CONTROL AND PARTS SET
Category:
Uncategorised
Home
About
About MRE Spare Parts
Ordering Information
Terms of Trade
Privacy Policy
Delivery Policy
Returns
Feedback
Faq
Contact
Login
0
0
Your Cart
Your cart is empty
Calculate Shipping