Parts List
Key:
Instock.
Nilstock.
Contact MRE.
Check the parts position number [ ] matching with the drawing. Login to view prices.
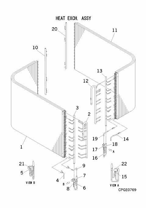
[1]
Contact
PCB311A052
HEATEXCH(AIR)
Contact
[1-10]
In Stock
PCB301A244
HEAT EXCH ASSY (AIR)
[2]
Contact
PCB315D227
HEADER ASSY,GAS
Contact
[3]
Contact
PCB315D312
HEADER ASSY,LIQUID
Contact
[4]
Contact
PCB321G148
PIPE(L)
Contact
[5]
In Stock
SSA387F039A
EXP VALVE
[5-9]
Contact
PCB387F091
VALVEASSY,EXPANSI
Contact
[6]
In Stock
SSA385A052
VALVE,CHECK
[7]
Contact
SSA357A053B
STRAINER
Contact
[8]
Contact
SSA357A053C
STRAINER
Contact
[9]
Contact
PCB321F028
PIPE(L)
Contact
[10]
Contact
PCB141A042
PLATE,BAFFLE
Contact
[11]
Contact
PCB311A052A
HEATEXCH(AIR)
Contact
[11-20]
In Stock
PCB301A244A
HEAT EXCH ASSY (AIR)
[12]
Contact
PCB315D229
HEADER ASSY,GAS
Contact
[13]
Contact
PCB315D313
HEADER ASSY,LIQUID
Contact
[14]
Contact
PCB321G149
PIPE(L)
Contact
[15]
In Stock
SSA387F039A
EXP VALVE
[15-19]
Contact
PCB387F091A
VALVEASSY,EXPANSI
Contact
[16]
In Stock
SSA385A052
VALVE,CHECK
[17]
Contact
SSA357A053B
STRAINER
Contact
[18]
Contact
SSA357A053C
STRAINER
Contact
[19]
Contact
PCB321F029
PIPE(L)
Contact
[20]
Contact
PCB141A042
PLATE,BAFFLE
Contact
[21]
In Stock
SSA382F212Z
COIL,SOLENOID
[22]
In Stock
SSA382F212AA
COIL,SOLENOID