FDC335KXE6-K HEAT EXCH. ASSY

FDC335KXE6-K HEAT EXCH. ASSY

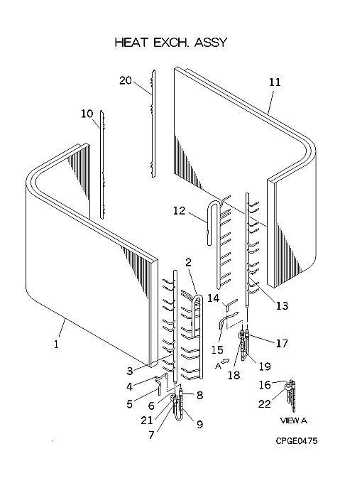
Parts List

Key:
Instock.
Nilstock.
Contact MRE.

Check the parts position number [ ] matching with the drawing. Login to view prices.

[1] Contact
PCB311A039N
HEAT EXCH(AIR)
Contact
[1-10] Contact
PCB301A139AF
HEAT EXCH ASSY(AIR
Contact
Substitute: PCB301A244 Notes: FRONT
[2] Contact
PCB315D227
HEADER ASSY,GAS
Contact
[3] Contact
PCB315D231
HEADER ASSY,LIQUID
Contact
[4] Contact
PCB321F028
PIPE(L)
Contact
[5] Contact
PCB321F030
PIPE(L)
Contact
[6] In Stock
SSA387F039A
EXP VALVE
Notes: EEV Show Image
SSA387F039A
[6-9] Contact
PCB387F071L
VALVE ASSY,EXPANSI
Contact
[7] Contact
SSA357A048C
STRAINER
Contact
[8] Contact
SSA357A048B
STRAINER
Contact
[9] In Stock
SSA385A052
VALVE,CHECK
SSA385A052
[10] Contact
PCB141A033
PLATE BAFF
Contact
Notes: UPPER
[11] Contact
PCB311A039P
HEAT EXCH(AIR)
Contact
[11-20] Contact
PCB301A139AG
HEAT EXCH ASSY(AIR
Contact
Substitute: PCB301A244A Notes: REAR
[12] Contact
PCB315D229
HEADER ASSY,GAS
Contact
[13] Contact
PCB315D233
HEADER ASSY,LIQUID
Contact
[14] Contact
PCB321F029
PIPE(L)
Contact
[15] Contact
PCB321F031
PIPE(L)
Contact
[16] In Stock
SSA387F039A
EXP VALVE
Notes: EEV Show Image
SSA387F039A
[16-19] Contact
PCB387F071M
VALVE ASSY,EXPANSI
Contact
[17] Contact
SSA357A048C
STRAINER
Contact
[18] Contact
SSA357A048B
STRAINER
Contact
[19] In Stock
SSA385A052
VALVE,CHECK
SSA385A052
[20] Contact
PCB141A033
PLATE BAFF
Contact
Notes: UPPER
[21] In Stock
SSA382F212Z
COIL,SOLENOID
Notes: FOR EEVH1 Show Image
SSA382F212Z
[22] In Stock
SSA382F212AA
COIL,SOLENOID
Notes: FOR EEVH2 Show Image
SSA382F212AA
SKU: FDC335KXE6-K HEAT EXCH. ASSY Category:
0
    0
    Your Cart
    Your cart is empty
      Calculate Shipping