Skip to content
info@mrespares.com.au
Phone:
+61 2 9600 7444
Register
Login
Shop Parts
Service Tools
Cart
info@mrespares.com.au
Phone:
+61 2 9600 7444
Register
Login
Shop Parts
Service Tools
Cart
Home
About
About MRE Spare Parts
Ordering Information
Terms of Trade
Privacy Policy
Delivery Policy
Returns
Feedback
Faq
Contact
Home
>
FDC308HEN3B FAN AND COMPRESSOR
PRINT
FDC308HEN3B FAN AND COMPRESSOR
FDC308HEN3B FAN AND COMPRESSOR
Parts List
Key:
Instock.
Nilstock.
Contact MRE.
Check the parts position number [ ] matching with the drawing.
Login
to view prices.
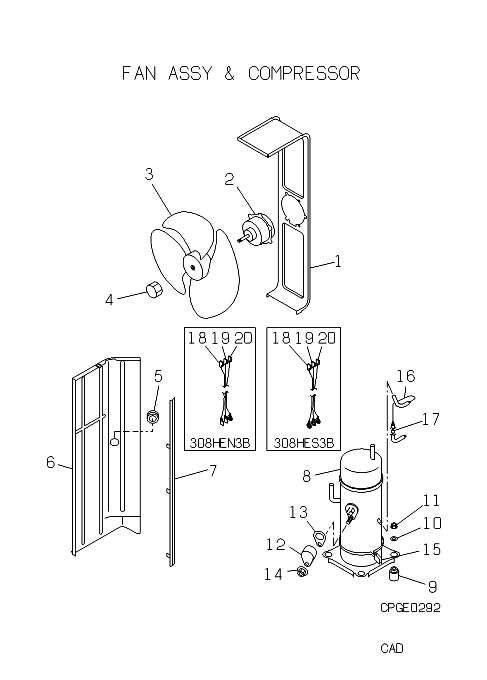
[1]
Out of Stock
PCA116A092
BASE MOTOR
Substitute:
OUT OF PRODUCTION
[2]
Out of Stock
SSA511T074D
MOTOR AC
[3]
Out of Stock
SSA431B209
FAN,PROPELR
Substitute:
OUT OF PRODUCTION
Notes:
OUT OF PRDUCTION
[4]
In Stock
SSA914B006D
NUT,TH
Notes:
1pc
Show Image
[5]
In Stock
S751W30X
GROMMET V14
Notes:
D35, ***SOLD INDIVIDUALLY***
Show Image
[6]
Contact
PCA141A060
PLATE BAFF
Contact
[7]
Contact
PCA141A062
PLATE,BAFFL
Contact
[8]
Out of Stock
AGT201A221NA
GTA5534EN41
Notes:
Contact for information ***COMPRESSORS CANNOT BE RETURNED***
[9]
Out of Stock
SSA941C285C
CUSHION RUB
Notes:
LOWER
[10]
In Stock
SSA941C289
CUSHION RU
Notes:
UPPER
Show Image
[11]
In Stock
SSA914C033
NUT
Notes:
1pc
[12]
Out of Stock
AGR947K001
COVER TERMINAL
[13]
Out of Stock
AGR932C001
GASKET
Substitute:
OUT OF PRODUCTION
[14]
In Stock
SSA914C016
NUT
Notes:
1pc
Show Image
[15]
In Stock
PCA541B011K
HEATER SSSY
Notes:
HEATER ASSY(CRANK)
Show Image
[16]
Contact
PCA315B425
CAPILLARY
Contact
Notes:
!D2.0XD3.2 L200
[16-17]
Contact
PCA315B424D
CAPILLARY ASSY(OIL
Contact
[17]
In Stock
SSA357H034
STRAINER
Show Image
[18]
Out of Stock
SAC567N102W
CORD
Notes:
!R FOR COMP.
[19]
Out of Stock
SAC567N104R
CORD
Notes:
!S FOR COMP.
[20]
Out of Stock
SAC567N078L
CORD IV
Notes:
!C FOR COMP.
FDC308HEN3B FAN AND COMPRESSOR quantity
Add to cart
SKU:
FDC308HEN3B FAN AND COMPRESSOR
Category:
Uncategorised
Home
About
About MRE Spare Parts
Ordering Information
Terms of Trade
Privacy Policy
Delivery Policy
Returns
Feedback
Faq
Contact
Login
0
0
Your Cart
Your cart is empty
Calculate Shipping