Skip to content
info@mrespares.com.au
Phone:
+61 2 9600 7444
Register
Login
Shop Parts
Service Tools
Cart
info@mrespares.com.au
Phone:
+61 2 9600 7444
Register
Login
Shop Parts
Service Tools
Cart
Home
About
About MRE Spare Parts
Ordering Information
Terms of Trade
Privacy Policy
Delivery Policy
Returns
Feedback
Faq
Contact
Home
>
FDC200VS HEAT EXCH. ASSY
PRINT
FDC200VS HEAT EXCH. ASSY
FDC200VS HEAT EXCH. ASSY
Parts List
Key:
Instock.
Nilstock.
Contact MRE.
Check the parts position number [ ] matching with the drawing.
Login
to view prices.
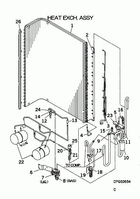
[1]
Contact
PCA311A049D
HEAT EXCH(AIR)
Contact
[1-4]
Contact
PCA301A115D
HEAT EXCH ASSY(AIR
Contact
[2]
Contact
PCA315D180
HEADER ASSY,GAS
Contact
Notes:
!
[3]
Contact
PCA315A088
DISTRIBUTOR ASSY
Contact
[4]
Contact
PCA321C619A
PIPE
Contact
[5]
In Stock
SSA382C096A
VALVE, S(4WAY)
Notes:
20S,20SL, Reversing Valve Body
[6]
Contact
PCA116A234
BRACKET
Contact
[7]
In Stock
PCA381A066
VALVE ASSY
Notes:
LIQ., 3/8" LIQUID
Show Image
[8]
In Stock
SSA381A886
VALVE,SERVICE(3/4")
Notes:
GAS, GAS - SUCTION 3/4 INCH
[9]
In Stock
SSA327B067
VALVE,SERVICE
Show Image
[10]
Contact
SSA325A001CL
PIPE,SHELL
Contact
[11]
In Stock
SSA385A018A
VALVE CHECK
[12]
In Stock
SSA357A059B
STRAINER
[13]
In Stock
SSA357A005AA
STRAINER
Show Image
[14]
In Stock
SSA387F044
EXP VALVE
Notes:
EEVC or SM1, EEV Body
Show Image
[15]
In Stock
SSA551D022C
SENSOR LP
Notes:
LOW PRESSURE TRANSDUCER
Show Image
[16]
In Stock
SSA532A083
SWITCH HP
Notes:
63H1, (HIGH PRESSURE SWITCH) - 63H1
Show Image
[17-19]
In Stock
PCA304A259A
PIPING ASSY(OIL)
[18]
Contact
PCA315B903
CAPILLARY
Contact
Notes:
!D1.2XD2.5 L500
[18-19]
Contact
PCA315B902
CAPILLARY ASSY(OIL
Contact
[19]
In Stock
SSA357A059B
STRAINER
[20]
In Stock
SSA387F044A
EXP VAL XP
Notes:
EEV or SM2, EXPANSION VALVE BODY ONLY
Show Image
[21]
In Stock
SSA357A059T
STRAINER
[22]
In Stock
SSA352B052
RECEIVER
Notes:
1pc ONLY, SOLD INDIVIDUALLY
[23]
In Stock
PCB382F107ZA
COIL ASSY, SOLENOID
Notes:
FOR 20S, FOR 20S‚ - Solenoid for Reversing Valve
[24]
In Stock
SSA382F212A
SOLENOID
Notes:
FOR EEV(COOL) or SM1, COOLING/ LENGTH 78CM
[25]
In Stock
SSA382F229J
SOLENOID XP
Notes:
FOR EEVH or SM2, Red Plug
Show Image
[26]
Contact
PCA141A101
PLATE,BAFFLE
Contact
FDC200VS HEAT EXCH. ASSY quantity
Add to cart
SKU:
FDC200VS HEAT EXCH. ASSY
Category:
Uncategorised
Home
About
About MRE Spare Parts
Ordering Information
Terms of Trade
Privacy Policy
Delivery Policy
Returns
Feedback
Faq
Contact
Login
0
0
Your Cart
Your cart is empty
Calculate Shipping