Skip to content
info@mrespares.com.au
Phone:
+61 2 9600 7444
Register
Login
Shop Parts
Service Tools
Cart
info@mrespares.com.au
Phone:
+61 2 9600 7444
Register
Login
Shop Parts
Service Tools
Cart
Home
About
About MRE Spare Parts
Ordering Information
Terms of Trade
Privacy Policy
Delivery Policy
Returns
Feedback
Faq
Contact
Home
>
FDC155KXEN6/A FAN AND COMPRESSOR
PRINT
FDC155KXEN6/A FAN AND COMPRESSOR
FDC155KXEN6/A FAN AND COMPRESSOR
Parts List
Key:
Instock.
Nilstock.
Contact MRE.
Check the parts position number [ ] matching with the drawing.
Login
to view prices.
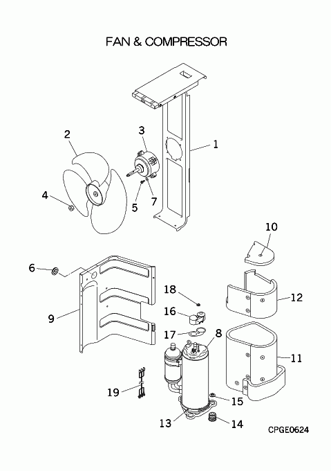
[1]
In Stock
PCA116A209B
BASE,MOTOR
[2]
In Stock
SSA431B228
FAN, PROPELLER
Notes:
CONDENSER FAN BLADE
[3]
In Stock
SSA512T076BA
MOTOR,DC
[4]
In Stock
SSA914B007AD
NUT
Notes:
**1pc ONLY**, NUT THAT LOCKS FAN BLADE ONTO SHAFT
Show Image
[5]
In Stock
SSA913C031A
SCREW TAP
Notes:
1pc ONLY
Show Image
[6]
In Stock
S751W30X
GROMMET V14
Notes:
D35, ***SOLD INDIVIDUALLY***
Show Image
[7]
In Stock
W200H06
WASHER
Notes:
1pc ONLY
Show Image
[8]
In Stock
AHT201F264DM
COMPRESSOR
Notes:
RMT5126MDE21, RMT5126MDE2 ***COMPRESSORS CANNOT BE RETURNED***
[9]
Contact
PCA141A087D
PLATE,BAFFLE¯¿½
Contact
[10]
In Stock
PCA151D095
INSULATION,COMP¯¿½
Show Image
[11]
In Stock
PCA151D097A
INSULATION,COMP
Show Image
[12]
In Stock
PCA151D098
INSULATION,COMP¯¿½
Show Image
[13]
In Stock
PCA541B012K
HEATER
Notes:
Crank case heater
[14]
In Stock
SSA941C246
CUSHION RUBBER
Notes:
*1pc only* SOLD INDIVIDUALLY - RUBBER COMPRESSOR MOUNT - LENGTH 3.7CM
Show Image
[15]
In Stock
SSA914C033
NUT
Notes:
1pc
[16]
Out of Stock
AHL947K001
COVER,TERMINAL
Substitute:
OUT OF PRODUCTION
[17]
In Stock
SSA932C009A
GASKET,COVER
Show Image
[18]
In Stock
SSA914C016
NUT
Notes:
1pc
Show Image
[19]
In Stock
PCA504A264FR
WIRING ASSY
Notes:
RED, WHITE, BLUE WIRING HARNESS
Show Image
FDC155KXEN6/A FAN AND COMPRESSOR quantity
Add to cart
SKU:
FDC155KXEN6/A FAN AND COMPRESSOR
Category:
Uncategorised
Home
About
About MRE Spare Parts
Ordering Information
Terms of Trade
Privacy Policy
Delivery Policy
Returns
Feedback
Faq
Contact
Login
0
0
Your Cart
Your cart is empty
Calculate Shipping