Skip to content
info@mrespares.com.au
Phone:
+61 2 9600 7444
Register
Login
Shop Parts
Service Tools
Cart
info@mrespares.com.au
Phone:
+61 2 9600 7444
Register
Login
Shop Parts
Service Tools
Cart
Home
About
About MRE Spare Parts
Ordering Information
Terms of Trade
Privacy Policy
Delivery Policy
Returns
Feedback
Faq
Contact
Home
>
DXC43VNX CONTROL AND PARTS SET
PRINT
DXC43VNX CONTROL AND PARTS SET
DXC43VNX CONTROL AND PARTS SET
Parts List
Key:
Instock.
Nilstock.
Contact MRE.
Check the parts position number [ ] matching with the drawing.
Login
to view prices.
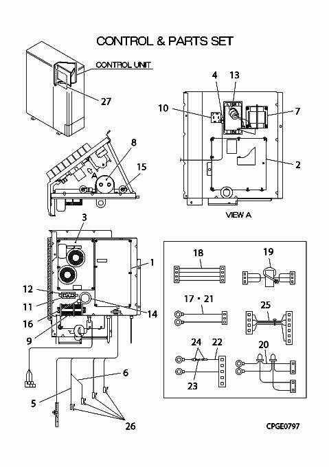
[1]
In Stock
PCA505A323JR
PWB ASSY (CONTROL)
Notes:
PWB1, PWB1 - CONTROL
[1-25]
Contact
PCA501A182A
CONTROL UNIT
Contact
Substitute:
NOT AVAILABLE
Notes:
NOT AVAILABLE
[2]
In Stock
PCA505A194DM
PWB ASSY(INVERTER)
Notes:
PWB2 INVERTER, INVERTER BOARD - PWB2 (SCREWS NOT INCLUDED)
Show Image
[3]
In Stock
PCA505A127B
PWB ASSY (NOISE.FILTER)
Notes:
PWB3 NOISE FILTER
Show Image
[4]
Out of Stock
SSA551A192L
SENSOR
Substitute:
SSA551A256L
Notes:
THO-TR or -AF or -P, THO-IPM THO-TR THO-AF
Show Image
[5]
In Stock
PSA551A014P
SENSOR ASSY
Notes:
THO-A,S,D,R1, THO-A,S,D,R1 - WHITE PLUG WITH 6 BLACK WIRES AND 2 YELLOW WIRES
Show Image
[6]
In Stock
PSA551A013J
SENSOR
Notes:
THO-R2
Show Image
[7]
In Stock
SSA554B092
REACTOR
Notes:
L1
[8]
In Stock
SSA552F601
CAPACITOR
Notes:
C1, 450v 2700mf, COMPRESSOR CAPACITOR
Show Image
[9]
In Stock
SSA561B693C
BLOCK TERMINAL
Notes:
TB
Show Image
[10]
Out of Stock
SSA555A662
DIODE
Substitute:
PCA008A276A
Notes:
DIODE STACK/DIODE MODULE/DIODE BRIDGE
Show Image
[11]
In Stock
PCA504A300
FUSE ASSY
Notes:
30A, 30AMP FUSE WITH SOLDED WIRES (FOR FUSE HOLDER SEE SSA564B044)
[12]
In Stock
SSA564B044
HOLDER, FUSE
Show Image
[13]
In Stock
SSA556J035A
IC (ACTIVE CONVERTER)
Notes:
A/F MODULE (Active Filter Module) - Also known as ACT/IPM
Show Image
[14]
Contact
S750W30
GROMMET
Contact
Notes:
D35, D35¯¿½
[15]
In Stock
SSA554D183
KILLER,NOISE
Show Image
[16]
In Stock
PCA552F004
CAPACITOR ASSY
Notes:
CFO, 0.01MF-275V-VERY SMALL CAPACITOR - 1CM APPROX - WITH ALIGATOR CLIPS
Show Image
[17]
In Stock
PCA504A264FW
WIRING ASSY
Notes:
TB 2,TB 3- PWB1 CNW2
Show Image
[18]
In Stock
PCA504A264GA
WIRING ASSY
Notes:
PWB1 CNI1-PWB2 CNI2, PWB1 CNI1- PWB2 CNI2
Show Image
[19]
In Stock
PCA504A264FB
WIRING ASSY¯¿½
Notes:
PWB1 CNI3- PWB2 CNI4, PWB1 CNI3-PWB2 CNI4¯¿½
[20]
In Stock
PCA504A264HP
WIRING ASSY
Notes:
C1 +,C1 --PWB1 CNA1,PWB1 CNA2, C1 +,C1 -- PWB1 CNA1,PWB1 CNA2/ LENGTH 27CM
Show Image
[21]
In Stock
PCA504A246CC
WIRING ASSY
Notes:
PWB3 CN1-TB 1,TB 2
Show Image
[22-24]
In Stock
PCA504A272Z
WIRING ASSY
Notes:
PWB3 L1O,PWB3 NO- PWB1 CNW
Show Image
[23]
In Stock
SSA564A149AG
FUSE(CURRENT)¯¿½
Notes:
4A, F 4A¯¿½- 4 AMP FUSE - ****NOT MAIN FUSE****
Show Image
[24]
In Stock
RWC564B002
HOLDER,FUSE¯¿½
Show Image
[25]
In Stock
PCA504A264HC
WIRING ASSY
Notes:
PWB2 CNACT1- LACT CNACT, 4 black wires with white plugs PWB2-ACTIVE FILTER MODULE. One plug is slightly smaller than the other. (PWB2 CNACT1- LACT CNACT)/ LENGTH 55.5CM
Show Image
[26]
Out of Stock
RKJ941F001
SPRING LEAF
Substitute:
PSA941F001
Notes:
FOR SENSOR
Show Image
[27]
Contact
PSC011G564C
LABEL,WIRING
Contact
[28]
Contact
PSB011F138C
LABEL,MODEL NAME
Contact
DXC43VNX CONTROL AND PARTS SET quantity
Add to cart
SKU:
DXC43VNX CONTROL AND PARTS SET
Category:
Uncategorised
Home
About
About MRE Spare Parts
Ordering Information
Terms of Trade
Privacy Policy
Delivery Policy
Returns
Feedback
Faq
Contact
Login
0
0
Your Cart
Your cart is empty
Calculate Shipping