DXC34VNX/1 CONTROL AND PARTS SET

DXC34VNX/1 CONTROL AND PARTS SET

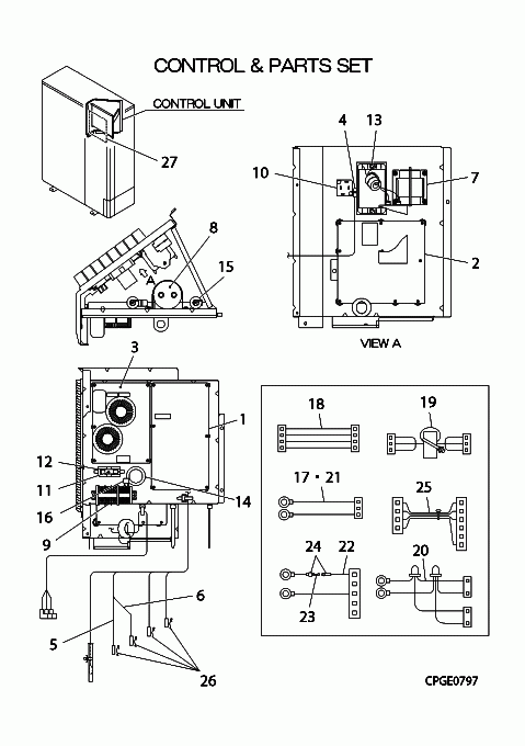
Parts List

Key:
Instock.
Nilstock.
Contact MRE.

Check the parts position number [ ] matching with the drawing. Login to view prices.

[1] In Stock
PCA505A323JR
PWB ASSY (CONTROL)
Notes: ONLY FOR SUPPLY PARTS PWB1, PWB1 - CONTROL
[1-25] Contact
PCA501A182C
CONTROL UNIT
Contact
Notes: !, NOT AVAILABLE
[2] In Stock
PCA505A194DM
PWB ASSY(INVERTER)
Notes: ONLY FOR SUPPLY PARTS PWB2, INVERTER BOARD - PWB2 (SCREWS NOT INCLUDED) Show Image
PCA505A194DM
[3] In Stock
PCA505A127B
PWB ASSY (NOISE.FILTER)
Notes: ONLY FOR SUPPLY PARTS PWB3, PWB3 NOISE FILTER Show Image
PCA505A127B
[4] Out of Stock
SSA551A192L
SENSOR
Substitute: SSA551A256L Notes: THO-AF, THO-IPM THO-TR THO-AF Show Image
SSA551A192L
[5] In Stock
PSA551A014P
SENSOR ASSY
Notes: THO-O,S,D,R1, THO-A,S,D,R1 - WHITE PLUG WITH 6 BLACK WIRES AND 2 YELLOW WIRES Show Image
PSA551A014P
[6] In Stock
PSY551A004J
SENSOR
Notes: THO-R2 Show Image
PSY551A004J
[7] In Stock
SSA554B092
REACTOR
Notes: L1
[8] In Stock
SSA552F601
CAPACITOR
Notes: C1, 450v 2700mf, COMPRESSOR CAPACITOR Show Image
SSA552F601
[9] In Stock
SSA561B693C
BLOCK TERMINAL
Notes: TB Show Image
SSA561B693C
[10] Out of Stock
SSA555A662
DIODE
Substitute: PCA008A276A Notes: DIODE STACK/DIODE MODULE/DIODE BRIDGE Show Image
SSA555A662
[11] In Stock
PCA006A091
FUSE(CURRENT)
Notes: F 30A, 30A FUSE - HAS SOLDERED WIRES ON EACH END Show Image
PCA006A091
[12] In Stock
SSA564B044
HOLDER, FUSE
SSA564B044
[13] In Stock
SSA556J035A
IC (ACTIVE CONVERTER)
Notes: A/F MODULE (Active Filter Module) - Also known as ACT/IPM Show Image
SSA556J035A
[14] Contact
S750W30
GROMMET
Contact
Notes: D35
[15] In Stock
SSA554D183
KILLER,NOISE
SSA554D183
[16] In Stock
PCA552F004
CAPACITOR ASSY
Notes: 0.01MF-275V-VERY SMALL CAPACITOR - 1CM APPROX - WITH ALIGATOR CLIPS Show Image
PCA552F004
[17] In Stock
PCA504A264FW
WIRING ASSY
Notes: TB 2,TB 3- PWB1 CNW2 Show Image
PCA504A264FW
[18] In Stock
PCA504A264GA
WIRING ASSY
Notes: PWB1 CNI1- PWB2 CNI2 Show Image
PCA504A264GA
[19] In Stock
PCA504A264FB
WIRING ASSY
Notes: PWB1 CNI3- PWB2 CNI4, PWB1 CNI3-PWB2 CNI4
[20] In Stock
PCA504A264HP
WIRING ASSY
Notes: C1 +,C1 -- PWB1 CNA1,PWB1 CNA2, C1 +,C1 -- PWB1 CNA1,PWB1 CNA2/ LENGTH 27CM Show Image
PCA504A264HP
[21] In Stock
PCA504A246CC
WIRING ASSY
Notes: TB 2,TB 3- PWB3 CN1, PWB3 CN1-TB 1,TB 2 Show Image
PCA504A246CC
[22-24] In Stock
PCA504A272Z
WIRING ASSY
Notes: PWB3 L1 ,PWB3 N - PWB1 CNW, PWB3 L1O,PWB3 NO- PWB1 CNW Show Image
PCA504A272Z
[23] In Stock
SSA564A149AG
FUSE(CURRENT)
Notes: 4A, F 4A‚ - 4 AMP FUSE - ****NOT MAIN FUSE**** Show Image
SSA564A149AG
[24] In Stock
RWC564B002
HOLDER,FUSE
RWC564B002
[25] In Stock
PCA504A264HC
WIRING ASSY
Notes: PWB2 CNACT1- LACT CNACT, 4 black wires with white plugs PWB2-ACTIVE FILTER MODULE. One plug is slightly smaller than the other. (PWB2 CNACT1- LACT CNACT)/ LENGTH 55.5CM Show Image
PCA504A264HC
[26] In Stock
PSA941F001
SPRING LEAF
Notes: FOR THO-R1,R2,D,S, 1pc ONLY Show Image
PSA941F001
[27] Contact
PSC011G564C
LABEL,WIRING
Contact
Notes: !
[28] Contact
PSB011F138B
LABEL,MODEL NAME
Contact
Notes: !
SKU: DXC34VNX/1 CONTROL AND PARTS SET Category:
0
    0
    Your Cart
    Your cart is empty
      Calculate Shipping