Skip to content
info@mrespares.com.au
Phone:
+61 2 9600 7444
Register
Login
Shop Parts
Service Tools
Cart
info@mrespares.com.au
Phone:
+61 2 9600 7444
Register
Login
Shop Parts
Service Tools
Cart
Home
About
About MRE Spare Parts
Ordering Information
Terms of Trade
Privacy Policy
Delivery Policy
Returns
Feedback
Faq
Contact
Home
>
DXC28ZRA-W HEAT EXCH. AND CONTROL
PRINT
DXC28ZRA-W HEAT EXCH. AND CONTROL
DXC28ZRA-W HEAT EXCH. AND CONTROL
Parts List
Key:
Instock.
Nilstock.
Contact MRE.
Check the parts position number [ ] matching with the drawing.
Login
to view prices.
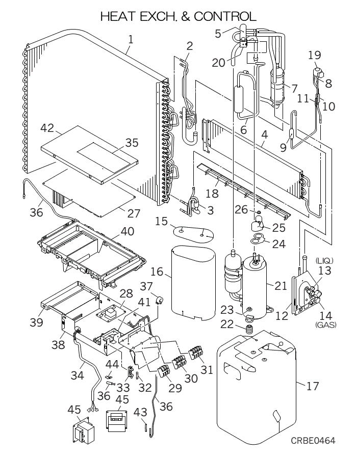
[1-3]
In Stock
RCR301A202WA
HEAT EXCH ASSY AIR
Notes:
Condenser Heat Exchanger Coil assembly
[2]
Contact
RCR315D200
HEADER ASSY,GAS
Contact
[3]
In Stock
RCR315A200A
DISTRIBUTOR ASSY
[4]
In Stock
RCR301A206
HEAT EXCH ASSY(AIR)
Notes:
Smaller Rectangular Heat exchanger - unit may have 2 heat exchangers
[5]
In Stock
SSA382C098
VALVE S(4WAY)
Notes:
20S, reversing valve, body only
Show Image
[6]
In Stock
RCR304A205
PIPING ASSY(DISCH)
[7]
In Stock
AHT351A001
ACCUMULATOR
Show Image
[8]
In Stock
SSA387F051
VALVE,BODY(EXP)
Notes:
EEV, 'BODY' ONLY. Does NOT include coil
[8-11]
In Stock
RCR304A201C
PIPING ASSY (EXPAN)
Notes:
includes Expansion Valve body, Strainer, Shell Pipe & Capillary
[9]
In Stock
SSA357A005A
STRAINER
Show Image
[10]
In Stock
RCN325A700
PIPE,SHELL
Show Image
[11]
In Stock
RCV315B202A
CAPILLARY
Notes:
D2.6xD4.0 L300, 2.6X4.0 L300/ LENGTH 8.3CM
Show Image
[12]
In Stock
RCR116A003
BRACKET(VALVE)
Show Image
[13]
In Stock
RCR381A003B
VALVE,SERVICE(1/4")
Notes:
LIQ., LIQUID LINE SERVICE VALVE - 1/4' - LIQ.
Show Image
[14]
In Stock
RCR381A004
VALVE,SERVICE(5/8)
Notes:
GAS, 5/8" GAS (SUCTION)
[15]
Contact
RPC154D903
INSULATION,COMP
Contact
Notes:
COMP UPPER
[16]
In Stock
RPC154D904
INSULATION,COMP
Notes:
COMP BODY
[17]
Contact
RCR154D213
INSULATION
Contact
[18]
Contact
RCR454A200
GUIDE,DRAIN
Contact
[19]
In Stock
SSA382F210L
COIL,SOLENOID (EEV)
Notes:
FOR EEV, SOLENOID COIL FOR EEV (ELECTRONIC EXPANSION VALVE)
[20]
In Stock
RSA382F013BC
COIL ASSY,SOLENOID
Notes:
FOR 20S, REVERSING VALVE SOLENOID COIL / 4 WAY VALVE COIL - coil only
[21]
In Stock
AHT201C184BA
COMPRESSOR ASSY
Notes:
RMT5118SBE2, ***COMPRESSORS CANNOT BE RETURNED***
[22]
In Stock
SSA941C351A
CUSHION,RUBBER
Notes:
For Compressor - Sold individually
[23]
In Stock
SSA914C013A
NUT,FLANGE
Notes:
1pc
Show Image
[24]
In Stock
RSA932C004
GASKET
Show Image
[25]
In Stock
RSA947K005
COVER TERMINAL
Notes:
FOR COMPRESSOR
Show Image
[26]
In Stock
SSA914C016
NUT
Notes:
1pc
Show Image
[27]
In Stock
RCR505A100L
PWB ASSY
Notes:
PWB1, PWB1 - MAIN BOARD - ALSO INVERTER - includes Power Transitor
Show Image
[28]
In Stock
RCT505A304B
PWB, DRED
Notes:
PWB2, Demand Response Enabling Device. Only required if wired-in on installation. FOR MORE INFORMATION DISCUSS WITH TECH SUPPORT
[29]
In Stock
SSA561B665
BLOCK,TERMINAL
Notes:
T1
Show Image
[30]
In Stock
SSA561B702B
BLOCK,TERMINAL
Notes:
T2
Show Image
[31]
In Stock
SSA561B733
BLOCK,TERMINAL
Notes:
T3
Show Image
[32]
In Stock
SSA564A136A
FUSE(CURRENT)
Notes:
20A, F 20A‚ - 20 amp fuse
Show Image
[33]
In Stock
SSA564B088
FUSE HOLDER
Show Image
[34]
In Stock
RCR504A048C
WIRING ASSY
Notes:
FOR COMP., Wiring harness for compressor - LENGTH 76CM
Show Image
[35]
Contact
RCR011G201
LABEL,WIRING
Contact
[36]
In Stock
SSA551A244
SENSOR ASSY
Notes:
TH1,2,3, TH1,2,3 (3 SENSORS). CNTH.
Show Image
[37]
In Stock
SSA554D173
CORE,FERRITE
[38]
In Stock
RCR142A205A
BOX ASSY,CONTROL
[39]
In Stock
RCR132A200
COVER,CONTROL
[40]
In Stock
RCR142A202A
BOX,CONTROL
[41]
In Stock
RWC129A004
BOX,CONTROL(DR)
Show Image
[42]
In Stock
RCR142A207A
LID ASSY, CONTROL
[43]
In Stock
RKF941F002
SPRING
Notes:
LENGTH 2.8CM
Show Image
[44]
In Stock
RCJ941F001
SPRING
Notes:
LENGTH 2.5CM
Show Image
[45]
In Stock
SSA554B114
REACTOR
Notes:
*** 1 PIECE ONLY. SOLD INDIVIDUALLY ***
Show Image
[46]
Contact
RCR011F210AC
LABEL,MODEL NAME
Contact
DXC28ZRA-W HEAT EXCH. AND CONTROL quantity
Add to cart
SKU:
DXC28ZRA-W HEAT EXCH. AND CONTROL
Category:
Uncategorised
Home
About
About MRE Spare Parts
Ordering Information
Terms of Trade
Privacy Policy
Delivery Policy
Returns
Feedback
Faq
Contact
Login
0
0
Your Cart
Your cart is empty
Calculate Shipping